horquilla Hulsmann

Descripción

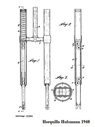
Patentaron una horquilla telescópica, que no se deslizó dentro de los tubos sino que rodó ya que cada "botella" estaba equipada con 4 rodamientos de bolas, lo que redujo considerablemente el desgaste rápido de la guía.
Los primeros motocicletas Hulsmann fueron equipados con esta horquilla telescópica, pero luego se abandonó, dado que no cumplían bien su función las abandonaron y montaron horquillas telescópicas con resortes de acero y casquillos deslizantes con amortiguadores de aceite.

Hulsmann horquilla.jpg
Johan Dirk Hulsmann.jpg